[新聞]汽車外部安全氣囊開發中

 
發表新主題   回覆主題    重車論壇 首頁 -> :: 重 車 話 題
上一篇主題 :: 下一篇主題  
發表人 內容
admin
站內新聞發佈

重 車 太 子
重 車 太 子
admin

註冊時間: 2004-08-10
文章: 3635

發表發表於: 2020-06-01 10:04    文章主題: [新聞]汽車外部安全氣囊開發中 引言回覆



摩托車長久以來最為人詬病的就是事故的高致死率與高重傷率,如果今天
是穿著保護著全身FIM規格賽車服、護具、安全帽、手套、與車靴等等裝備,
即使在時速超過兩百公里以上失控滑倒,在有寬大緩衝區的賽車場上要能夠
毫髮無傷的離開也是無不可能,只是這當中需要有很多很多的好運氣才行,
但是在一般道路上的機車騎士是沒有這樣的條件,而且往往在低時速下與機車
發生碰撞時,對於機車騎士的傷害都相當的大。
關於這個因為肉包鐵造成的事故特性,其實汽車製造商長久以來都知道,
即便是透過一些法規的強制性來讓汽車製造商設計出對行人、自行車與機車騎士
傷害更小的車款,但是能改善的畢竟還是相當有限。
不過最近日本本田汽車倒是針對這個道安問題正在研發一款全新概念的防護氣囊,
也透過這個專利申請文件的曝光,讓我們可以清楚的知道
這大概是什麼樣的一個裝置與概念。



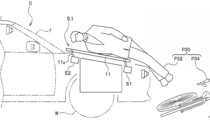
Honda汽車這項專利申請是用在汽車引擎蓋部分裝置的防護氣囊,
當事故發生時引擎蓋外部會有防護氣囊來保護人體,不僅如此,引擎蓋部分
還會因應氣囊的引爆而上抬改變角度,可當作是人體受力的一個安全襯墊,
同時前保險桿也會有一個向前推進的力量,讓位於車頭位置的人可以安全地落在
有防護氣囊襯墊的引擎蓋上,減少身體因碰撞造成的內外傷。
從圖面上可以清楚的看到這個防護氣囊體積不小,基本上不只是扮演著一個
襯墊的作用,而是將人體整個用包覆的方式緊緊的保護。



除了日本Honda車廠之外,德國的零件供應商ZF也開發了類似的車體外部
防護氣囊設備,ZF的防護氣囊是裝置在車輛的兩側下方,主要的防護目的在於
強化車輛撞擊時最脆弱的側面90度撞擊,ZF的氣囊是要在車體本身的
側撞防護條件下提供更多一點的緩衝與吸收衝擊力的能力,那怕是一點點也好,
或許對於車室內的人來說,無論是駕駛者或是乘客,也許就是生與死的差異。
不過話說回來,這些外部防護氣囊在氣囊本身其實技術已經相當成熟,
具有挑戰的地方是在於各個相關感應器與控制電腦的程式撰寫與連動,
這個才是需要很多時間金錢投入的部分,未來車輛的主被動安全系統應該都會
朝向同一個方向發展,一個是減少駕駛本身的人為操作失誤,第二個則是
在事故發生的當下能夠給予雙方最大的人身保護,相信這個是不變的。



譯文 : Wei2Go
排版 : M.C.S
來源 : Bennetts.co.uk
回頂端
檢視會員個人資料 發送私人訊息 發送電子郵件
電光小騎士

大 師 級
大 師 級
電光小騎士

註冊時間: 2007-03-21
文章: 66078

發表發表於: 2020-06-01 11:29    文章主題: 引言回覆


_________________
反共是口號,為匪工作是無恥禽獸!
回頂端
檢視會員個人資料 發送私人訊息
山田郎
流浪的疾風

400cc級騎士 (大型重型)
400cc級騎士 (大型重型)
山田郎

註冊時間: 2013-07-05
文章: 595
居住地: 鬼島腐城

發表發表於: 2020-06-01 14:28    文章主題: 引言回覆

我記得 VOLVO 好幾年前就有開發車頭前 , 外安全氣囊的構想
不知道為何沒有後續的訊息!
不過最新的訊息是他未來要把出廠的車子電子限速
鎖定為 180Km / H
https://www.carexpert.com.tw/%E8%B2%AB%E5%BE%B9%E5%AE%89%E5%85%A8%E4%BF%A1%E5%BF%B5%EF%BC%8Cvolvo%E4%B8%8B%E4%BF%AE%E9%9B%BB%E5%AD%90%E6%A5%B5%E9%80%9F%E8%A8%AD%E5%AE%9A%EF%BC%8C2020%E5%B9%B4%E6%89%80%E6%9C%89%E6%96%B0%E8%BB%8A/
回頂端
檢視會員個人資料 發送私人訊息
電光小騎士

大 師 級
大 師 級
電光小騎士

註冊時間: 2007-03-21
文章: 66078

發表發表於: 2020-06-01 15:57    文章主題: 引言回覆

裝了這個米國警察就不能開警車撞人民了 hero
_________________
反共是口號,為匪工作是無恥禽獸!
回頂端
檢視會員個人資料 發送私人訊息
sickdino

雄 霸 車 壇
雄 霸 車 壇
sickdino

註冊時間: 2004-08-22
文章: 7498
居住地: 跟著鄉民進來看熱鬧的酸民

發表發表於: 2020-06-01 16:02    文章主題: 引言回覆

誰說的 你沒聽說 警規 嗎
_________________
指空為有指有言空見言不見不見言見
回頂端
檢視會員個人資料 發送私人訊息 參觀發表人的個人網站
從之前的文章開始顯示:   
發表新主題   回覆主題    重車論壇 首頁 -> :: 重 車 話 題 所有的時間均為 台灣時間 (GMT + 8 小時)
1頁(共1頁)


前往:  
無法 在這個版面發表文章
無法 在這個版面回覆文章
無法 在這個版面編輯文章
無法 在這個版面刪除文章
無法 在這個版面進行投票